
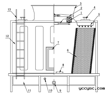
集中制制冷用空调系统中,每台冷却塔的冷却水量基本上都小于1,000m³/h,且装有淋水填料的横流机械通风开式居多。本文将已横流开式冷却塔为例,介绍下影响冷却塔效率的几点因素。下图所示为横流冷却塔示意图:

横流冷却塔1.冷却塔电机和减速器 2.betway必威手机 3.冷却塔风筒 4.进水口借口 5.冷却塔喷淋装置 6.冷却塔填料 7.冷却塔检修门 8.检修通道 9.冷却塔进水管接口 10.补给水管接口 11.冷却塔积水盘 12.冷却塔侧板 13.冷却塔爬梯
在研究影响冷却塔效率的几个因素之前,首先要了解下冷却塔效率是怎么来计算的。冷却塔效率计算公式如下所示:

冷却塔效率计算公式 影响冷却塔换热效率的三个因素:
1.冷却塔气流组织问题造成进气的湿球温度偏高而致使冷却塔效率低下

横流冷却塔循环
冷却塔回流是指由冷却塔排出的热湿空气被进风口吸入的现象。回流的比例越高,冷却塔吸入空气的湿球温度就越高。对于一些位置较差,周围有建筑构件遮挡的冷却塔,通风情况较差,容易出现回流比例过大的现象。还有一些对台冷却塔并联,但只开其中部分冷却塔时,运行的冷却塔会吸入不运行冷却塔内部的潮湿空气。
2.冷却塔气流组织问题造成进气的湿球温度偏高而致使冷却塔效率低下

高效机房冷却塔
对于一个拥有多台冷却塔群的空调系统,冷却塔群的整体效率取决于冷却塔群整体的进出水温差。在有些系统中,虽然单台冷却塔效率正常,但由于未运行冷却塔不关水阀,造成冷却水旁通的问题,导致冷却塔群的整体效率偏低。
某空调系统有13台冷却塔,部分负荷时只运行其中的一部分,例如在过渡季只运行其中两台冷却塔,但其他11台冷却塔的水阀依然开启。风机运行中的冷却塔的出水温度为21℃,但进过混水后,冷却侧总回水温度高达29.5℃,导致冷却塔群效率整体降低。
3.冷却塔的水量偏大或风量偏小造成冷却塔效率偏低

高效机房冷却塔
在室外湿球温度和冷却塔换热面积一定的情况下,影响冷却塔效率的主要因素是冷却塔的风量和水量。目前冷却塔风机多数采用皮带轮传动,这种传动方式可靠性较差,易出现皮带打滑现象;同时风机的电机位于室外,受日晒雨淋影响,易损坏;此外,冷却塔在试运行过程中未有全部做风量测试,冷却塔的扇叶角度未调整到最佳位置;这些因素都将造成冷却塔的实际风量往往低于设计值。在现有的空调系统中,常发现冷却塔群整体水量适中,但由于冷却塔群之间局部水力不平衡导致某些冷却塔局部水量偏大,造成该部分过流的水量未经充分冷却便进入冷却水回水中,提升冷却水出冷塔整体温度,从而造成冷却塔效率偏低。
广东bw必威西汉姆联官网首页节能空调推行的标准高效机房, 采用标准设备,在标准工况运行,目标EER不小于5.0是性价比较高的高效机房理念,有以下的优点:
技术风险低:标准设备(不采用非标产品)、标准工况(末端设备不受影响),施工及运维技术难度低。
采购风险低:大部份供货商都可参与投标。
成本造价低:相对非标设备高效机房便宜。
投资价值高:性价比高,投资回收期短(南方地区不超一年)。
维护保养:标准产品维修保养费用相对较低,设备备件供货快,成本低。
建设期合理可控:不采用非标设备,常规的设备生产期;标准设备的施工,施工队不需要通过特别培训或使用特别工艺,常规的施工期。
广东bw必威西汉姆联官网首页节能空调的标准高效机房无需采用高新科技或非标产品,重点在于EER指标在工程每个环节中认真推行,由专业设计团队全程确保各环节聚焦于节能目标,从机房方案设计到系统调试及竣工后一年运行,全程参与,保证投资回收期满足预期。

以上就是冷却塔维修厂家广东bw必威西汉姆联官网首页节能空调为大家带来标准高效机房的优点(提高冷却塔散热效率的高效率机房)的介绍了,希望对大家有所帮助。
在生产效率与环境温度的竞赛中,冷却塔是您不可或缺的盟友。但如何确保它始终处于最佳状态?让您的工业冷却系统更加强大、智能、高效!您是否还在担心冷却塔效率不尽如人意?现在就来电获取免费专属冷却塔故障解决方案,让您的冷却系统与高温酷暑说再见!
·专业定制:我们的专家团队将为您量身定制冷却塔解决方案,确保每一分冷却投资都发挥最大效。
·免费咨询:拨打我们的热线,即可享受一对一的专业咨询服务,让您的问题迎刃而解。
·效率提升:通过我们的方案,提升冷却塔性能,降低能耗,实现真正的高效冷却。
·持久耐用:选择我们的解决方案,延长冷却塔使用寿命,减少维护成本,享受持久稳定的冷却效果。
·立刻行动,拨打我们的免费冷却塔专属方案:13728927868,获取您的专属解决方案。
文章链接: 标准高效机房的优点(提高冷却塔散热效率的高效率机房) //www.yccysc.com/baike/716.html
58必威网站
联 系 人:
王经理
联系电话:
13728927868
公司邮箱:
km23055667@163.com
公司地址:
深圳市龙华区龙华大道2125号卫东龙商务大厦A座1916A